官宣!A股盘后大利好,事关AI;深夜突发,4连板大牛股,突遭减持!

来源:德璞资本官网       作者:DOO编辑
7月13日,A股和港股联手大涨。截至收盘,沪指涨1.26%,深成指涨1.61%,创业板指涨1.85%。北向资金全天净买入135.85亿元,单日净买入额创1月30日以来新高,连续4日加仓;其中沪股通净买入68.82亿元,深股通净买入67.02亿元。

点击输入图片描述(最多30字)

港股方面,三大指数涨幅均超2%,恒生科技指数大涨近4%。

今日A股、港股大涨的原因,其实主要是一个:隔夜美国6月CPI通胀降超预期,市场押注7月为美联储最后一次加息,因此风险资产全线大涨。其中,欧美股市集体走高,标普和纳指均创下15个月以来新高;中概HXC指数涨超3%,创下近一个月来新高。

同时,受益于美元走弱,人民币汇率大幅走强,隔夜人民币离岸汇率升破7.17。7月13日,人民币兑美元中间价较上日调升238点至7.1527,创6月19日以来新高。在此背景下,人民币资产重获青睐,今日北向资金大幅净买入超百亿元。

7月13日下午,商务部举行例行记者会,商务部新闻发言人束珏婷表示,中方对美国商务部长雷蒙多访华持开放和欢迎态度,正就此与美方进行沟通。中方将继续致力于通过对话沟通,解决经贸领域彼此关切,推动建设性、务实合作。

A股全面大涨

今日A股盘面上全线大涨,芯片、AI、金融、医药、消费等板块全线爆发。

点击输入图片描述(最多30字)

具体看,芯片股集体走强,存储芯片方向领涨,香农芯创20CM涨停,佰维存储涨逾15%,德明利、睿能科技、万润科技涨停。AI概念股迎来反弹,传媒方向领涨,省广集团、奥飞娱乐、中国出版涨停。CRO概念股震荡走强,泓博医药20CM涨停。券商、白酒等权重股震荡反弹,国盛金控一度涨停,舍得酒业、泸州老窖涨超5%。

汽车产业链是今日两市“仅有”的飘绿板块,瑞玛精密跌停,德迈仕跌逾10%,近期连续涨停的众泰汽车、浙江世宝等跌逾5%。总体上个股涨多跌少,两市超3900只个股上涨。沪深两市今日成交额9208亿元,较上个交易日放量89亿元。

点击输入图片描述(最多30字)

资金流向方面,今日主力资金主要买入A股权重龙头。其中,工业富联净流入12.53亿元,高居榜首;五粮液、东方财富、贵州茅台、药明康德、泸州老窖均位居前列。

港股暴涨

今日港股涨幅更加突出,三大指数涨幅均超2%。截至收盘,香港恒生指数涨2.6%,恒生科技指数涨3.82%,恒生中国企业指数上涨2.6%。

点击输入图片描述(最多30字)

具体看,港股今日大涨,科技股贡献最大,京东健康、快手、商汤、哔哩哔哩涨超7%,微博、京东集团涨超6%,美团涨超5%,百度集团涨超4%。
点击输入图片描述(最多30字)

当日,瑞信策略师将中国股票评级上调至高配。

七部门发布《生成式人工智能服务管理暂行办法》

近日,国家网信办联合国家发展改革委、教育部、科技部、工业和信息化部、公安部、广电总局公布《生成式人工智能服务管理暂行办法》(以下称《办法》),自2023年8月15日起施行。国家互联网信息办公室有关负责人表示,出台《办法》,旨在促进生成式人工智能健康发展和规范应用,维护国家安全和社会公共利益,保护公民、法人和其他组织的合法权益。

近年来,生成式人工智能技术快速发展,为经济社会发展带来新机遇的同时,也产生了传播虚假信息、侵害个人信息权益、数据安全和偏见歧视等问题,如何统筹生成式人工智能发展和安全引起各方关注。出台《办法》,既是促进生成式人工智能健康发展的重要要求,也是防范生成式人工智能服务风险的现实需要。

《办法》提出国家坚持发展和安全并重、促进创新和依法治理相结合的原则,采取有效措施鼓励生成式人工智能创新发展,对生成式人工智能服务实行包容审慎和分类分级监管,明确了提供和使用生成式人工智能服务总体要求。提出了促进生成式人工智能技术发展的具体措施,明确了训练数据处理活动和数据标注等要求。规定了生成式人工智能服务规范,明确生成式人工智能服务提供者应当采取有效措施防范未成年人用户过度依赖或者沉迷生成式人工智能服务,按照《互联网信息服务深度合成管理规定》对图片、视频等生成内容进行标识,发现违法内容应当及时采取处置措施等。此外,还规定了安全评估、算法备案、投诉举报等制度,明确了法律责任。

国家互联网信息办公室有关负责人指出,生成式人工智能服务的发展与治理需要政府、企业、社会、网民等多方参与,共同促进生成式人工智能健康发展,让生成式人工智能技术更好地造福人民。

4连板大牛股突遭减持!
连日大涨的无人驾驶概念股,万安科技步步攀升之后,连拉4个涨停。而就在7月13日晚间,万安科技公告公司实际控制人陈利祥于2023年7月13日以大宗交易方式出售公司股票350,000股,占其持有公司股票数量的3.8291%,占公司总股本的0.0730%。

点击输入图片描述(最多30字)
实际上,就在7月12日晚间,万安科技公告控股股东万安集团的子公司也通过大宗交易进行了减持。万安科技表示,近日收到控股股东万安集团全资子公司万安投资发来的《告知函》,万安投资于2023年7月11日通过深圳证券交易所大宗交易系统减持其持有的公司无限售条件流通股份751,900股,占公司总股份的0.1568%。
         
万安科技公司自设立以来一直致力于汽车底盘控制系统的研发、生产和销售,产品覆盖乘用车和商用车底盘控制系统两大领域,拥有底盘前后悬架系统、汽车电子控制系统、气压制动系统、液压制动系统、离合器操纵系统等多个产品系列。

在近期股价频频异动拉升之际,万安科技也不断提示投资风险。公司表示,未发现近期公共媒体报道了可能或已经对公司股票交易价格产生较大影响的未公开重大信息。截至目前公司经营情况正常,内外部经营环境未发生重大变化。
万科科技也提醒投资者注意风险。公司表示,将严格按照有关法律法规的规定和要求,认真履行信息披露义务, 及时做好信息披露工作。敬请广大投资者关注相关公告,理性投资,注意投资风险。
         
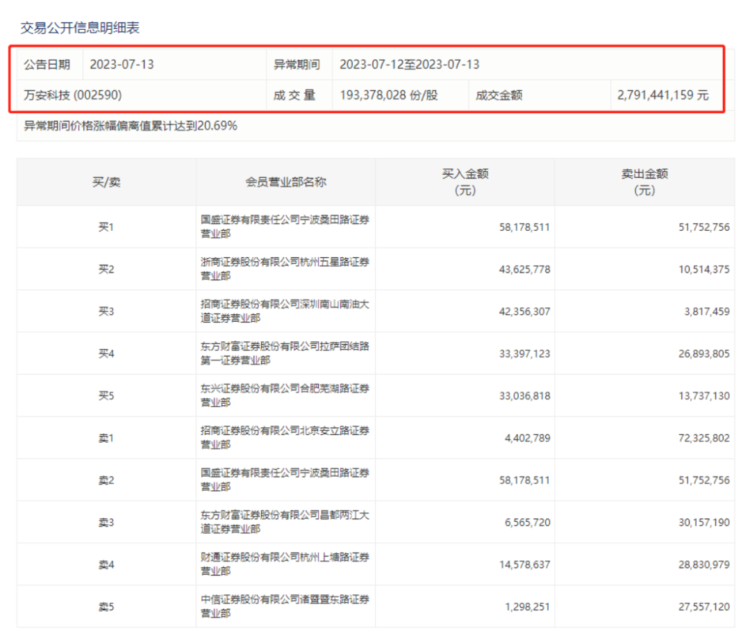
从龙虎榜席位来看,近日万安科技买卖前五名席位主要为券商营业部席位,此前有机构席位在卖。
         
点击输入图片描述(最多30字)
在7月7日到7月11日的异动当中,一家机构席位卖出。
         
点击输入图片描述(最多30字)

行业资讯

NEWS

联系电话

  • +44 11 3733 5199(欧洲)
  • +852 3704 4241(亚洲)
  • +65 6011 1415 (亚洲 – 新加坡)
  • +86 400 8427 539(亚洲 - 中国地区)

电子邮箱

  • cn.sales@dooprime.com(客户经理)
  • cn.support@dooprime.com(技术支持)

 

合规披露

请仔细阅读以下合规披露:

本网站非Doo prime德璞资本官网

该网站可在全球范围内访问,并不特定于任何实体。这主要是为了信息集中展示和对比的便利,你的实际权利和义务会基于你所选择的实体从监管所获得的授权和监管所决定。

您必须至少年满18岁,然后才能访问我们的网站产品和服务。 通过访问我们的网站,您确认您符合了年龄的要求。

有些当地法律法规禁止或限制您访问,下载,分发,传播,共享或以其他方式使用本网站上发布的任何或所有文档和信息的权利。

  • 回到顶部